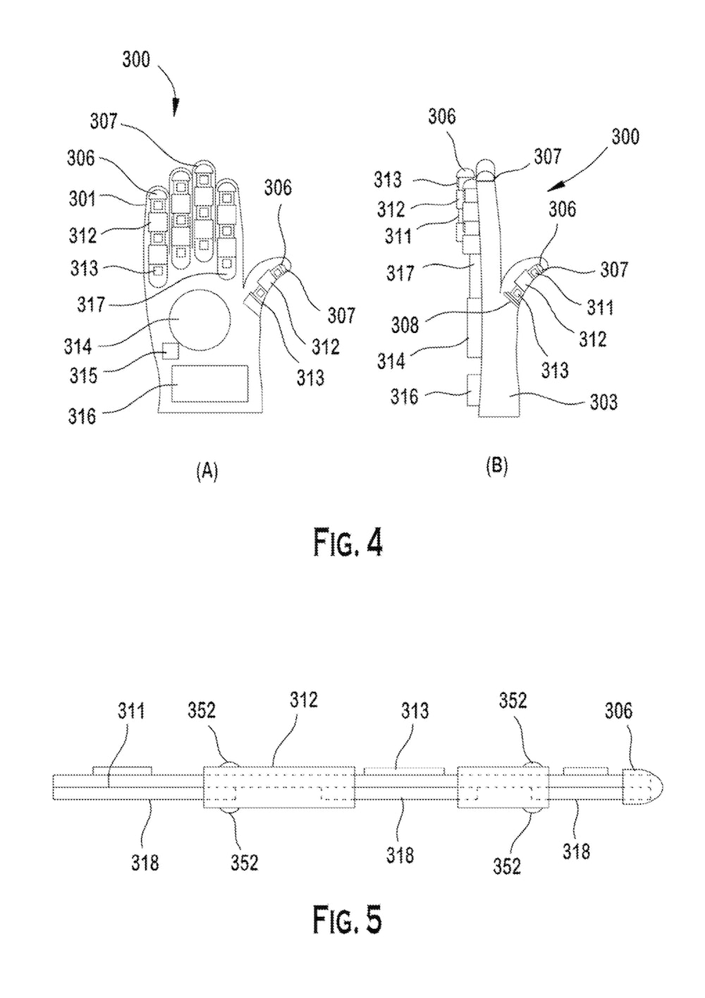
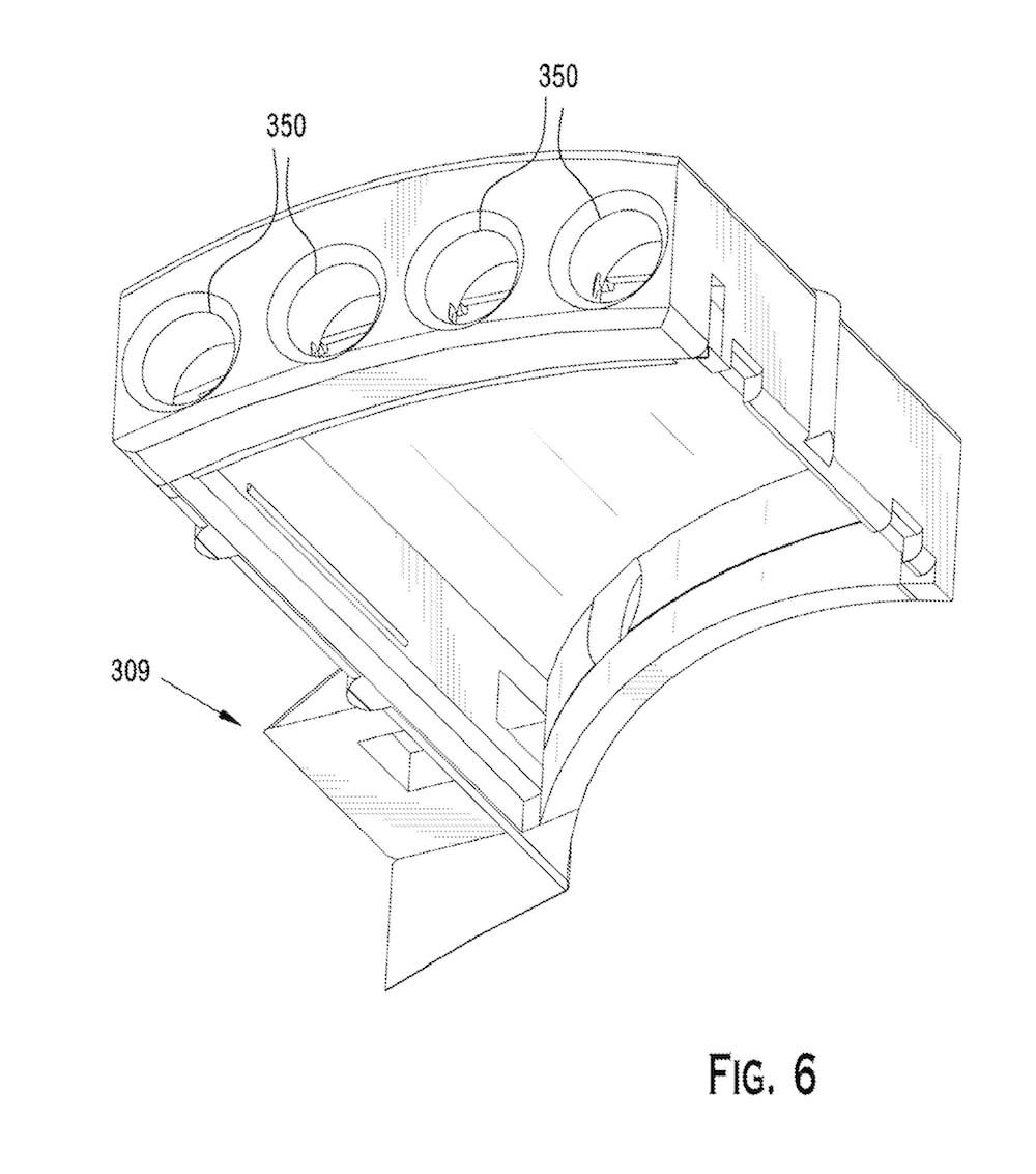
There are over 220,000 US stroke patients each year who lack the ability to volitionally reopen their affected hand post-stroke. The HOAD Research Group at the Johns Hopkins University was charted in August 2006 as an engineering teaching and mentoring enterprise to design a hand-opening assistive device (HOAD), to provide a simple, convenient, mechanically robust orthosis that allows opening and/or closing of the patient’s affected hand.
HOAD has been issued three USPTO Medical Device patents: Pat #8348810; Pat #8678980; Pat # 8652076. These rehabilitation, glove-like device designs overcome all competitors’ shortcomings in terms of robustness, comfort, ease of use/dress and efficacy. HOAD orthotics are designed to be comfortable, worn full time, provide full range of motion to the hand and wrist, may serve as a splint and enable the patient to exercise/rehabilitate, unlike what is offered by any competitor.
Like this entry?
-
About the Entrant
- Name:Edward Land
- Type of entry:teamTeam members:Edward M. Land
A diverse mix of students from the Johns Hopkins University School of Engineering, Johns Hopkins Carey Business School, Johns Hopkins School of Medicine, and Pennsylvania State University. - Patent status:patented


