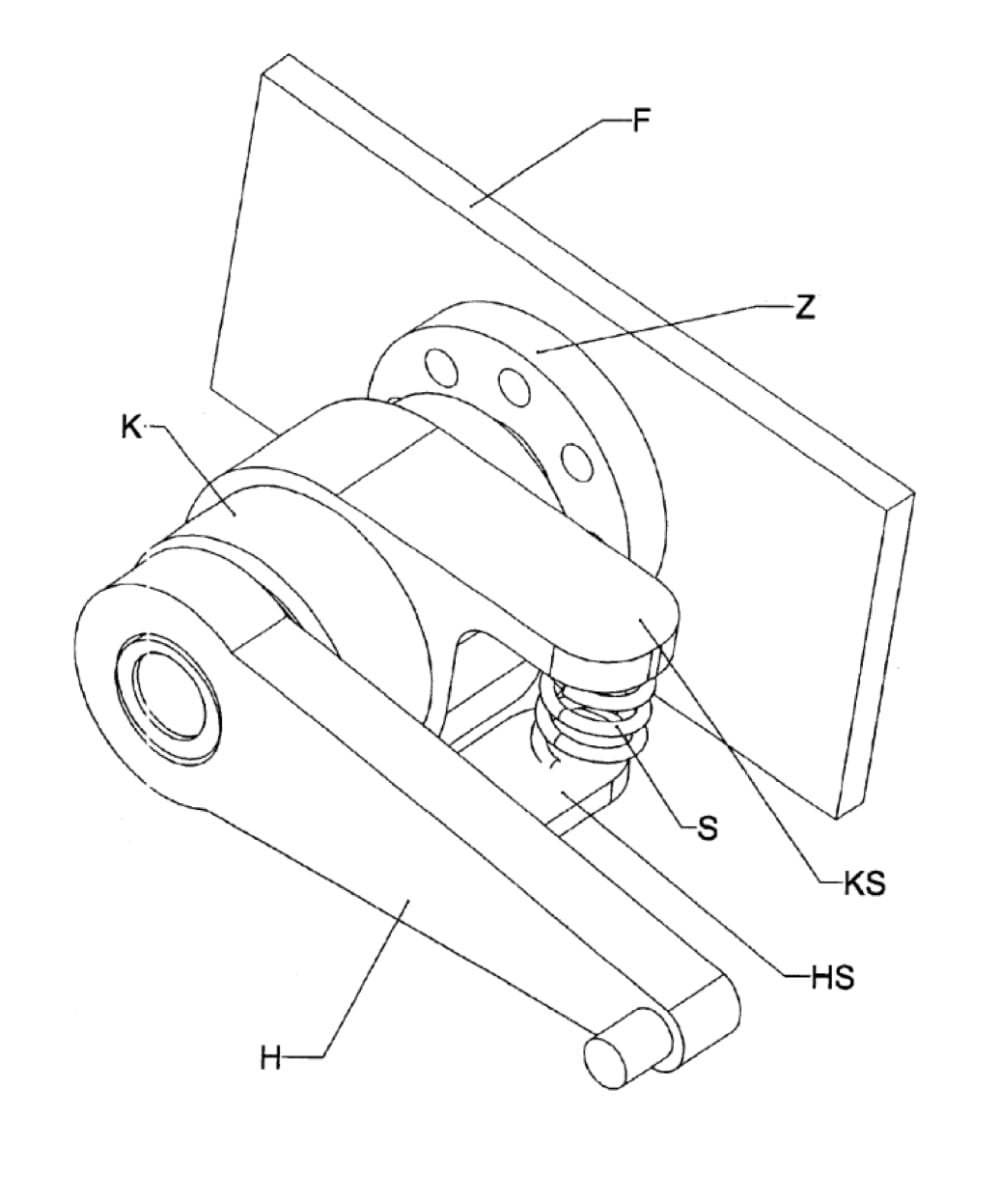
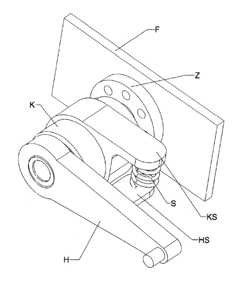
The invention (US 6851690, EP 1210236, PL 192322, HK 1049313) provides a purely mechanical, steel, progressive rate vehicle suspension system, with damping characteristic that can be adapted for any type of vehicle or working machine.
The most outstanding feature of the suspension is that it produces strongly progressive damping characteristic out of linear characteristic of a spring of any kind (coil,leaf, etc.), and the damping characteristic of my suspension is by far better than that of (progressive) pneumatic and hydropneumatic suspensions. The spring ratio of my suspension automatically adaptes to changing conditions: vehicle weight, and terrain conditions (highway, off road). In particular, a suspension with approximately exponential damping characteristic, which is the optimum for vehicles (like city buses, heavy trucks, military off-road vehicles like tanks, etc.) the weight of which vary within broad limits during operation process. Moreover, the overall shape of the damping characteristic (force as a function of road wheel vertical travel) of my suspension can be changed within broad limits ("soft" suspension for highway conditions and unloaded vwehicle, "stiff' suspension for off-road conditions and loaded vehicle) while the vehicle is on move, upon pressing a button. The suspension unit according to my invention features exceptionally robust and compact structure - it is based on my innovative 4-link flat or spatial mechanisms, which are the strongest mechanisms in existence. The suspension according to my invention increases safety and comfort while decreasing vehicles and roads wear; it also substantially improves ride and diminishes vehicle vibrations, thus contributing to fuel savings
Like this entry?
-
About the Entrant
- Name:Wieslaw Oledzki
- Type of entry:individual
- Patent status:patented


