
What is Netmory ?
Netmory is a patent that enables a computer or any device to use the memory of another computer on the internet. By memory, we mean the main memory ex DRAM.
What is Netmory ?
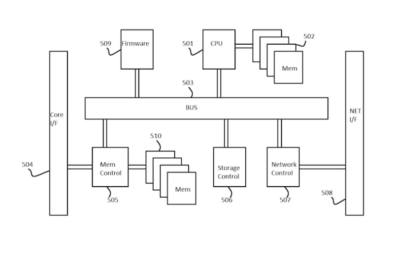
Netmory is an interconnect between the memory of the computer and the network. The name of this invention Netmory is a contraction between the two words NETWORK and MEMORY. The interconnect has 2 interfaces: One Ethernet interface and one memory interface.
What is Netmory ?
Netmory is a new computer architecture with multiple benefits. This architecture is different from all current computers. Today's computers inherit the architecture from the Von Neuman machine built in 1945. They all have a limitation which is known as "the Von Neuman bottleneck". This bottleneck reduces the computer performance and waists energy. Netmory doesn't have this limitation and consequently it results in an increased performance.
Why there is no Von Neuman bottleneck with Netmory ?
1) Netmory does not use the virtual memory technique which aggravates the bottleneck. 2) The CPU doesn't load programs in memory. 3) The memory has 2 busses.
What is the maximum memory size that Netmory support ?
There is no limit on the memory size. The memory grows indefinitely.
How persistence is achieved in Netmory ?
The interconnect incorporates storage capabilities. It can save and restore the volatile data. The memory appears to be persistent.
Does network latency affects the performance of a computer that incorporates Netmory ?
No. The interconnect includes an immediate memory. The local computer with the immediate memory is equivalent in performance with today's computers.
How a computer can use a memory of another computer on the Internet ?
When 2 computers incorporate Netmory, they communicate with a new protocol that can transfer memory resources over the network.
What is the collective memory ?
When multiple computers use this patent they create a collective memory.
Give an example of a new way of communication.
A computer has a choice 1) to send a content to a remote computer (by value) or 2) to share its memory so the remote computer grabs the content at later time (by reference).
How can a CPU address an infinite memory ?
The CPU addressing mechanism needs to accommodate a variable and extensible address field. It's a new architecture.
What are the memory transaction types in Netmory ?
We distinguish 3 types of memory transactions: 1) immediate : when the content is present in the immediate memory, it is served to the CPU like normal DRAM. 2) intermediate : when the content is present in the interconnect in the storage area. 3) long latency : when the content is on the network.
Can the memory be traded as service with Netmory ?
Yes.
With Netmory can we build a computer with just a core without peripherals such a disk or a NIC?
Yes.
With Netmory can we run a devive without an Operating System such Windows or Linux?
Yes.
Video
-
Awards
-
2017 Top 10 Most Popular
Like this entry?
-
About the Entrant
- Name:Mikhael Lerman
- Type of entry:individual
- Patent status:patented


