Floating buoys are used for several purposes. Some platforms are composed of multiple floating modular cubes connected to each other and mostly used in a tied position to the shore to function as landing stages in order to provide sunbathing areas, to ease the diving for people and to provide easy access to shore from the small boats after docking. Another area in which these platforms are used is the pontoons made of concrete and pulled by motor vessels. Pontoons are mainly used for carrying the loads of big ships to the port or performing the maintenance works of various marine structures. Fish vaccination platforms are generally used to reach the floating pools of fish farms situated in bays and to vaccinate the fish that have reached a certain weight on the platform, to classify them and then to transfer them into another pool. Since none of these platforms is anchored to the shore with a rigid connector, they are all affected by the waves. In case the wave height surpasses a level, even the landing stages connected to the shores become very hard to walk on. On the other hand, fish vaccination platforms have to operate next to the fish pools that need to be 2-3 km away from the shore due to hygiene requirements. For this reason these platforms are subject to the waves of the open sea and the wind. Due to all the explained problems, the fact that offshore platforms are affected by the waves creates an obstacle.
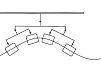
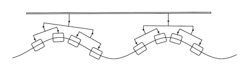
The invention is about the mechanism minimizes the rocking and lurching due to waves via its link between numerous buoys and the platform. The mechanism has sub-swing forks that are connected with buoys through 2-degrees-of-freedom cardan (universal) joints and which forms a group of buoys by attaching onto them from their upper parts and the mechanism also has top-swing arms that are connected to the platform with cardan joints from the top. This top-swing arm also connects sub-swing fork groups to itself while it is attached to the midpoint of sub-swing arm by cardan joints. Vertically moving buoys on a wavy sea transfer the mean average movement in each stage through the multi-layered swing mechanism. And as a result a more absorbed movement will be transferred to the upper platform. As the buoys has big vertical moves respectively the sub-swing fork, the top-swing fork and lastly the platform will rotate increasingly less. This can be interpreted as the wave movement will be transferred to the platform in an absorbed way. The main advantage of this motion absorption system is that it automatically keeps its nearly horizontal position in a wavy sea without need to use any power source. This is specifically important for offshore platforms.
Video
Like this entry?
-
About the Entrant
- Name:Ozgur Kilit
- Type of entry:individual
- Software used for this entry:AutoCAD, SolidWorks
- Patent status:pending


