Future electric vehicles will be powered either by batteries or fuel cells that convert hydrogen to electricity. Currently, the batteries that power electric vehicles are installed in a flat cuboid space, whereas large cylindrical vessels are used for conventional high-pressure hydrogen storage. Resulting from mechanical design considerations, the vehicle body would necessitate withstanding massive changes. Since these modifications of the vehicle architecture exert substantial cost-factor, it is desirable to develop a novel hydrogen storage system that fits into identical installation area as the batteries.
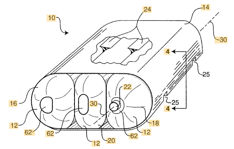
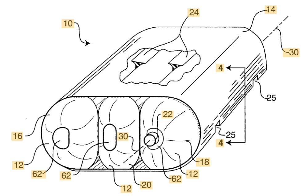
Our idea to address the bottleneck problem lies in the regime of seeking adaptive optimization between objectives of fuel efficiency and shape factor. The problem of maximizing on-board gaseous fuel storage is being addressed through the development of a conformable pressurized tank, which delivers more hydrogen reaction yielding with respect to designated vessel. Drawn upon the physical principle that cylinders efficiently contain internal pressure via membrane response, the fundamental concept for the conformable tank consists of adjoining cell segments with internal web reinforcements. As a result, a multi-cell pressure vessel is constructed to alleviate volume redundancy in given specifications. Moreover, the number of internal cells is optimized for volume and pressure capacity and lends itself in large part to different aspect ratio of the outer shape. Simultaneously, it is crucial to mitigate bulging pressure recurring on stress-critical parts. Therefore, a position-variant mechanism is designed by our interdisciplinary engineers to achieve sufficient pressure relieving through tailorability of filament-wound carbon composites.
In this way, the novel geometry drives the overall weight and fuel volume toward range-advantage when providing general circular cross-sections. Our expert team work closely on the synthesis, characterization and modeling of mechanical structure to improve the properties of conformable tank, a promising superior layout for hydrogen storage on vehicle body. Meanwhile, The proposition develops a fundamental exterior design including layer-to-layer tooling method and recesses fixture displacement, which substantially advances the resistance ability for pressure imposition.
Seen from simulation results, our considered storage system showcases strong performance under SAE J2601 fueling protocol in an array of aspects including volumetric efficiency, total mass ratio, pressurized life cycle as well as production cost. The storage system forms a novel beneficial topology inside rectangular box under the chassis, promoting maximum hydrogenation and dehydrogenation efficacy without adding weight issue. Furthermore, the production method and fatigue characteristic are analyzed utilizing finite element analysis under experimental conditions.
This design served as a baseline for the development of a full-scale hydrogen conformable storage tank for large-scale mass production hydrogen storage vessel system in the later stage. On top of the fundamental and verified system framework, more realistic and advanced fuel cells can apply this technology with least effort by virtue of adapting physical requirements and peripheral parameters accordingly. In summary, our solution presents high robustness in terms of implementation in filed of automotive and aerospace, because the overall mechanism is optimized toward a dedicated initiative to conquer fuel cell's shortcoming mechanical-wise.
Like this entry?
-
About the Entrant
- Name:Yngvi Ouyang
- Type of entry:teamTeam members:Yngvi Ouyang, Jerrus Jia
- Patent status:none


