Well-known universal machine tool uses the non-accelerating propulsion design today. Excessive energy is never added to motor. The shift gearbox only provides needed torques /speeds by using the motor shaft standard highest torque and standard- idle speed.
The conventional shift gearbox designs concept has two disadvantages:
- too huge numbers of gears/shafts
- too complex manual shifting mechanism design prevents to use full reliable automatic programmed regime
At 1886, the inventor Mr. Carl Benz have developed the non- accelerating propulsion design for first world’s vehicle in Germany (GR Pat. No. 37435) (https://en.wikipedia.org/wiki/Benz_Patent-Motorwagen). The practice have proved two advantages:
- The ground friction rolling torque turned the wheels of first world’s ground vehicle with 779 KG. /HP =1720 LBS. /HP power-to-weight ratio (motor had 0.75 HP) from stop. (https://en.wikipedia.org/wiki/Power-to-weight_ratio).
- Excellent driving safety: a) speeds changing are 100% dependent to driver, b) wheels higher speed or lower torque is shorter time of stopping wheels, b) shortest time of reaching wheels speed by the brake pedal realization was never reached by adding excessive energy to motor.
However, it had only one highest idling wheels speed or lowest torque magnitude. Therefore, vehicle traffics request creating new concept of shift gearbox design with automatic system of shifting mechanism. It must be profitable for both manufacture and consumer, increases efficiency of existing or new motor and improvement of driving safety and maneuverability.
The US patent 8,011,274 disclosed state-of-the-art concept of above 1,000 gearbox apparatus (GA) designs. There no necessary to make prototype for each design. It will be properly works because humanity has practice of using shift gearbox with manual shifting mechanism during above100 years. Prototype of shifting mechanism automatic system need for checking full reliable works.
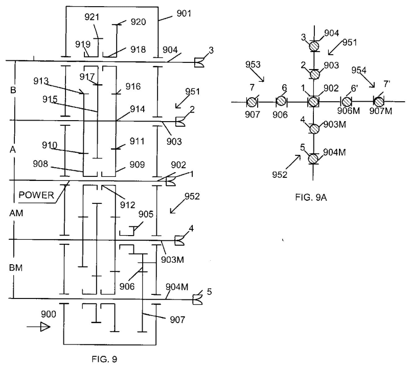
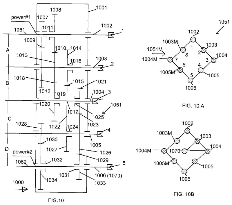
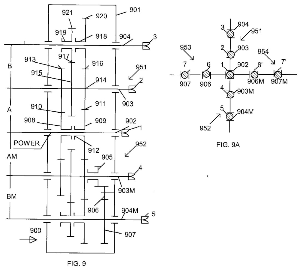
What are differences? There is at least one drive shaft to motors. It includes:
- at least two independent shafts
- at least one input and output shafts, and
- often dramatically fewer number of gear pairs with definite gear ratios are:
- selected from a faltering geometric sequence and
- arranged to provide a sufficient numbers of reduced and increased (overdrive) torques to the output shafts to satisfactorily operate a motorized machine. GA torques quantity is transformed to simple multipliers that has name “shift gearbox formula”.
Unique concept creates less number of gears when chosen more number of forward torques. For example, GA of 2x2x2x2x3x3 could provide 144 increasing/reducing forward/72 reverse speeds by less 2 gears than the existing heavy-duty truck shift gearbox that provides 18 forward/2 reverse only higher torques of reducing speeds. GA consumes only 12% motor energy. GA increases efficiency of existing motor from 20% to 100%-12%=88% by eliminating to use the motor accelerating system.
It gets 7 independent shafts. Each supports 2 or 3 pair gears is shifted by said simple gear-shifter that easy gets automatic system. Therefore, shifting mechanism integrates 7 simple automatic gear-shifters. There GA also opens opportunity to use smaller cheapest motor that replaces existing motor if GA is installed in the existing accelerating propulsion.
Like this entry?
-
About the Entrant
- Name:Vladimir Abramov
- Type of entry:individual
- Software used for this entry:None
- Patent status:patented


