Problem
Over 97% of our transportation energy comes from oil, but the United States controls just 3% of the proven oil reserves and must import from other countries. Coal and Natural Gas power stations use our abundant resources to provide 61% of our grid energy needs, at great expense to the people and environment due to carbon emissions. Decommissioned coal power stations result in added environmental hazards, job losses, unused fuel stores, and gaps in the energy grid.
Solution
The Energy Flux Circular Power Station is a modification to existing power stations that utilizes fuel stores at greater efficiency while producing beneficial products from carbon emissions.
How it works
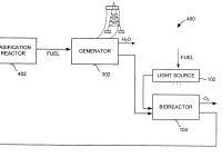
A hydrogasification reactor is added to the power station in a preliminary step to power generation, while bioreactors and a fuel refinery are added to capture the emissions to produce high value products such as fertilizer and JP-8 fuels. This creates jobs while preventing damage to the environment.
Unlike traditional traditional gasifiers which inject oxygen into coal, the coal is 'gasified' into synthetic natural gas (SNG) in a reaction with hydrogen in a pressurized reactor to produce methane (CH4) while minimizing the production of carbon dioxide. Additionally, the reaction uses less water than coal ignition. The resulting SNG can be transported on existing natural gas lines. The use of SNG is much cleaner than coal, which prolongs the need for plant rebuilds. The downstream flu gas is passed through a scrubber before being injected into specially designed bioreactors hosting natural microalgae. The algae feed on the continuous stream of carbon dioxide and grow at an exponential rate using photosynthesis. Algae is then 'harvested' daily to produce useful products from fertilizers to fuels in the refinery, at far less the cost of soybeans or corn. Water used for the algae can be recycled from existing cooling ponds, while the refinery utilizes super-critical CO2 for oil extraction from the harvested biomass. The biomass can be sold for cosmetics and feed-stock for aquaculture. The algal oils can be sold on the market, or treated using hydrolysis to form fatty acids for higher values. The fatty acids can be treated with decarboxylation to produce straight hydrocarbons. The hydrocarbons can be sold for biodiesel or further refined using hydroisomerization and distillation to produce high value JP-8 fuel.
The circular power station has the potential to produce SNG from coal below the market price for natural gas, while significantly reducing greenhouse gas emissions and making renewable products such as power, fuel, and food.
Like this entry?
-
About the Entrant
- Name:Ryan Hobbs
- Type of entry:individual
- Software used for this entry:yes
- Patent status:pending


