This invention operates on the principal that fluid pressure increases in direct proportion to depth. It relocates the process of reverse osmosis at depths where the weight of the water produces the pressure required to drive the reverse osmosis process. By some estimates, more than 3/4 of the energy consumed by sea water desalination plants is dedicated to building pressure to force salt water through the salt separation membranes. It stands to reason that swapping electrical pumps for gravity cuts operational overhead costs by 3/4. The simplicity and ease of manufacture of this design also eliminates the need for high capital investments into the design and manufacture of the plant, not to mention the reduced footprint.
My design provides a means of reducing the costs associated with constructing and running a water desalination plant, and therefore makes water desalination a viable option to communities with limited resources. Because it cuts costs, implementing this design will make it likely that water desalination will proliferate around the world. The close to zero negative environmental effects only serves to increase that probability.
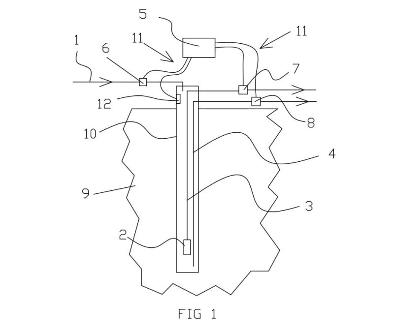
Fig. 1 shows the general overview. (Compare with diagrams) Vertical tube 10 is installed into the ground 9 (or water 9 for offshore locations). Pump 6 supplies salt water from filter and reservoir (not shown) to Tube 10 via water line 1. Between water lines 1 and 3 is membrane assembly 2. Water continues through water line 3 via Pump 7. The remaining brine is evacuated by pump 8 via waterline 3. Also shown in here is computer control module 5 in communication with water level sensor 12 and water pumps 6, 7 and 8 via wires 11. In order to reduce the salinity of the rejected water, computer control 5 may be calibrated to run pumps 6 and 8 at higher flow rates than pump 7 and by doing so pre-diluting it prior to disposal.
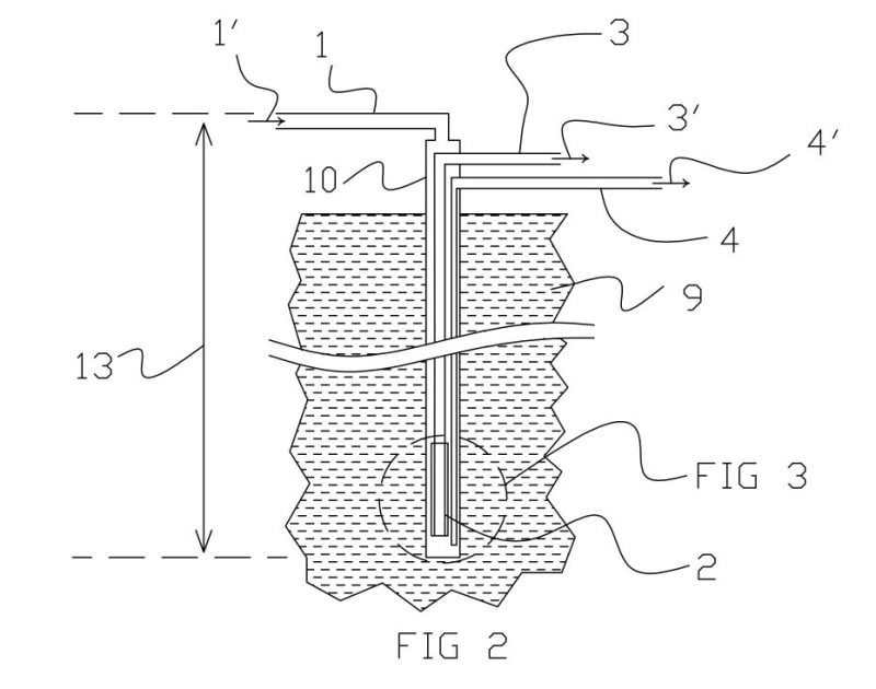
Fig. 2 shows more detailed view (pumps, wires, sensor and computer not shown). Water line 1 with salt water 1’ connected ant the top of water tube 10 installed in ground or at sea 9. Water 1’ fills up tube 10 via gravity. The pressure of the water at the bottom of tube 10 forces the water through membrane assembly 2. Reverse osmosis normally requires around 70 bar (approx. 1,000 psi). To generate that amount of water pressure using gravity, membrane assembly 2 has to be at depth 13 which is around 723 meters. The Salt free water 3’ post membrane assembly 2 flows through water line 3 either for further treatment or ready for use. Rejected brine 4’ flows through water line 4 for disposal.
Other advantages include reducing the greenhouse gases, the byproducts of the old style highly energy intensive process of water desalination plants and providing a cheap means of increasing fresh water supplies for not only water stressed communities but also agricultural and other water intensive industries.
Like this entry?
-
About the Entrant
- Name:Enock N Segawa
- Type of entry:individual
- Software used for this entry:AutoCAD
- Patent status:pending

