As a valuable contribution to decarbonize land transportation, Project ev-motion.com presents novel concepts of electric vehicles (Patent US8256553-revival filed) for the masses, affordable, desirable and connected to a unique infrastructure providing them with unlimited range of operation. All revolves around Concept 1, a container filled with batteries on wheels, running on rails and installed transversely to the length of vehicles from trikes to eighteen-wheelers, for a quick one-stroke horizontal swapping operation. It is to be installed on their very bottom (excluding Concept 15 for low-floor city buses).
The action would start whenever rails are properly aligned to identical ones of a robotic swapping station (Concepts 3, 13~16), positioned on both sides of the vehicle and have the inner depleted container released to travel sideways. A mechanism would push the freshly recharged module inwards together with the depleted one leaving the vehicle from its opposite side. Then, the inner module would be locked in by novel tabs working also as + and – electrical contacts to the controller module, and the vehicle is ready to go.
As we still don’t have any compatible vehicle available, a novel frame (Concept 7) has to be built and installed under a truck or a trailer to host battery modules and added Concept 4 devices used for an easy manual swapping. That would make them with unlimited range of operation as modules could be quickly swapped at every leg (i.e., every 100 miles run) of the trip.
Fig. 1 Is a system for straight trucks, trikes, vans, etc. The battery module 1 on wheels 2 flanged by 4 running on rails 3. The system is held by brackets 5 installed on the I-beam of chassis 7 and secured by bolts 6. To release the module to travel sideways, head 8 will be raised and travel to point 9 bringing locking tab 10 to the position 11. 12 is the dock for the “swapper” anchoring pin 40 that will penetrate orifice 13.
Fig. 2 is a novel system to fit trailers where brackets 14 will be bolted by 15 on I-beam types, and corner wedges 16 or similar fittings will function to hold other types. 17 is the landing gear of the trailer. Front segment with kingpin not showing.
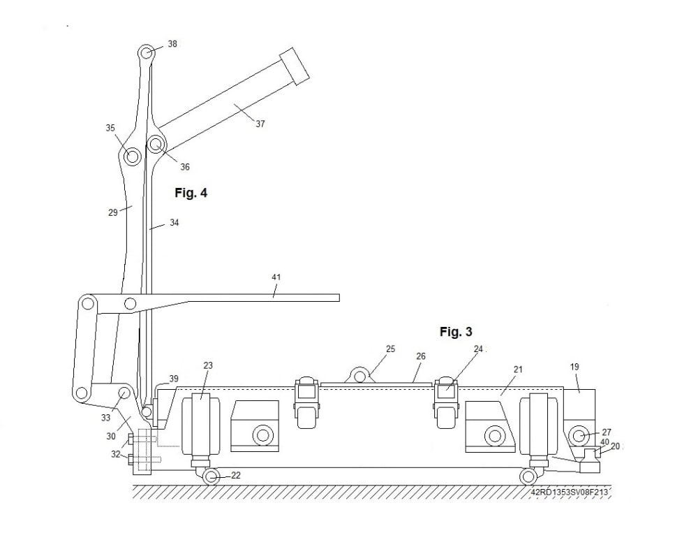
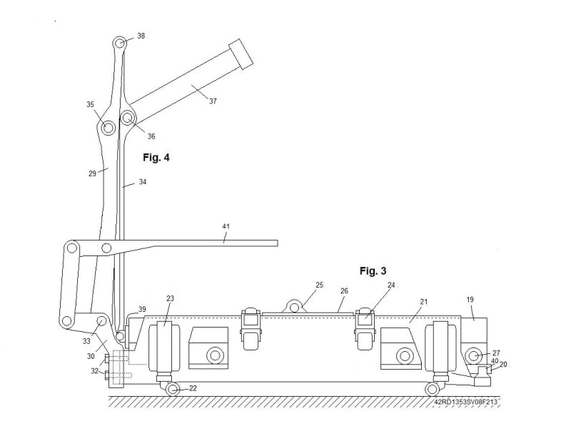
Fig. 3 the portable “swapper” device showing battery module 19 on wheels 27 running on rails 20 held within enclosure 21, and locked in place by latches 24. Hydraulic pistons 23 will control the height of the device running on casters 22.
Fig. 4 is a detachable apparatus that pushes module 19 inside the vehicle. Bracket 30 will be anchored on 21 and locked by bolts 32. Piston 37 will activate separation of 34 from 29, held by joints 33 and 38, moving 34 forward with 39 pushing the recharged module towards the vehicle. Loop 25 will adjust within plate 26 for balancing the device whenever hoisted. Tray 41 will hold equipment for hydraulic performance.
Like this entry?
-
About the Entrant
- Name:Roberto Depaschoal
- Type of entry:individual
- Software used for this entry:MS Bitmap
- Patent status:patented

