Various methods and mechanisms are known for lifting and moving loads. At the same time, we (Grigori and Oleg Lishanski, US Patent No. 10,214,398 B2, February 26, 2019) have developed and offer a previously unknown method of lifting and moving cargo and a device for its implementation. This device (vibrating platform) is capable of successfully lifting and moving a load, overcoming its gravity.
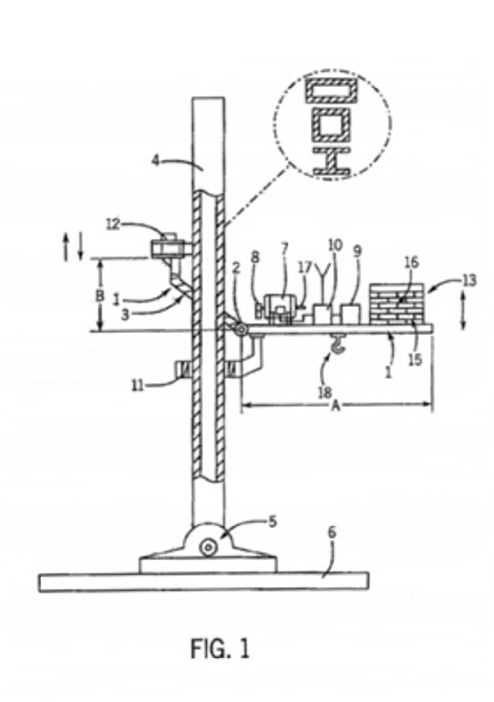
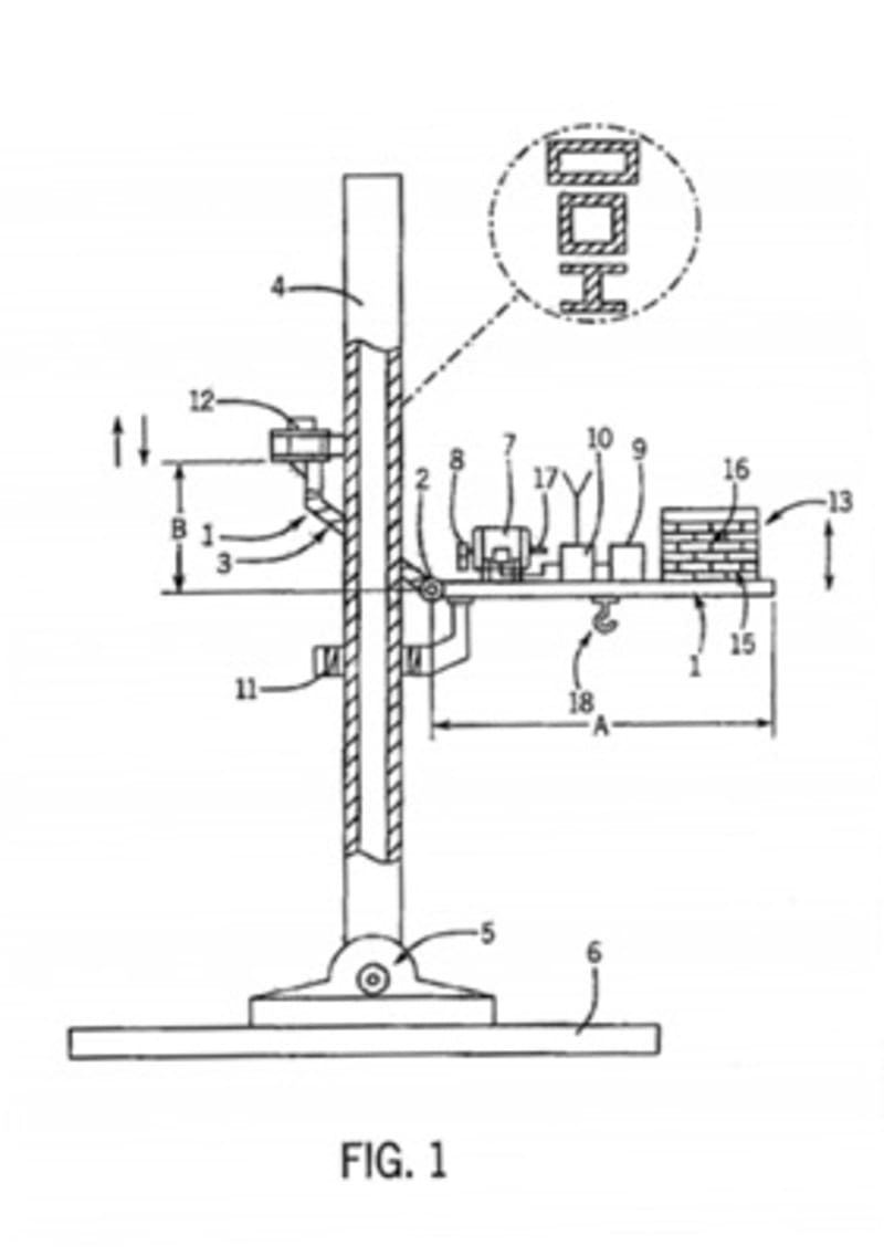
The vibrating platform is a flat metal surface, which is installed, as shown in Fig. 1.1 on the supporting surface and held in this position by the force of gravity, the load placed on it. A monorail is used as a support surface, one end of which is fixed in a fixed base. The monorail (or multiple rails) can be installed vertically at an angle of 90 ° to the base or at an arbitrary angle to horizon.
An electric generator of mechanical vibrations (vibrator), cargo and auxiliary equipment are installed on the surface of the platform. The vibrator allows you to create longitudinal-axial mechanical vibrations of the platform relative to the longitudinal axis of the fixed support with a given frequency and amplitude. The vibrator can be manually or remotely controlled. When the vibrator is turned on, the platform begins to vibrate, which leads to the beginning of a complex interaction of the forces of vibration, gravity and dry friction acting on the platform. From this moment, under the influence of the resulting vector of forces, the platform begins its upward movement (Fig.2.1 ). The direction of movement of the platform is determined by the installation angle of the monorail relative to the base, and the traction force and speed of the platform movement depend on the energy and technical characteristics of the vibrator and the design features of the platform itself.
In the process of experimental studies of laboratory samples, it was found that a vibrating platform with certain parameters of frequency and amplitude of vibration is capable of developing a thrust force that exceeds the dead weight of a platform with a vibrator by more than 15 times.
Thus, the observed effect gives grounds to assert with optimism that under the influence of the resulting of forces of vibration, gravity and dry friction forces, the proposed design of a nonlinear mechanical system is able to successfully move a load along a fixed support.
For the development of this technology, it is necessary to attract investments, which made it possible to carry out more fundamental and comprehensive studies of this technology and start developing industrial designs. Unfortunately, the authors do not have such conditions at present.
In Fig. 3,4,5 are shown as an example of the direction of possible industrial application of this vibration technology.
Video
Like this entry?
-
About the Entrant
- Name:Grigori & Oleg Lishanski
- Type of entry:teamTeam members:Grigori Lishanski, Oleg lishanski, Evgeny Romonenko
- Software used for this entry:AUTO CAD 2004
- Patent status:patented


