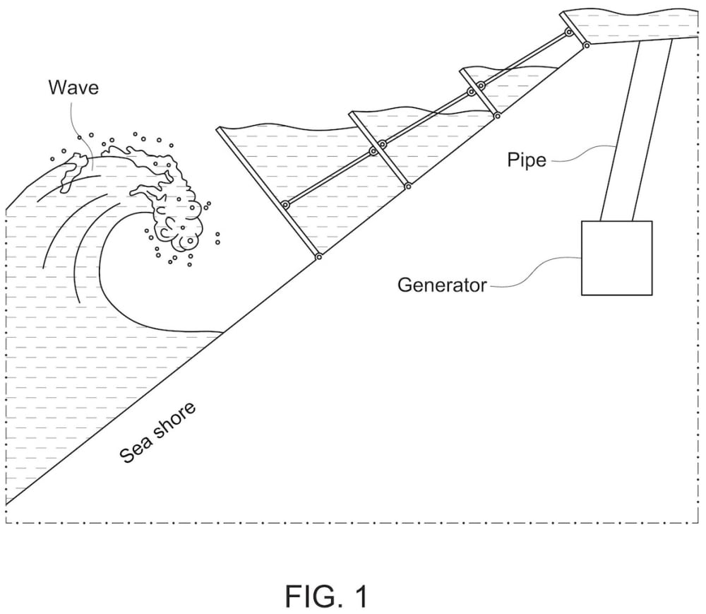
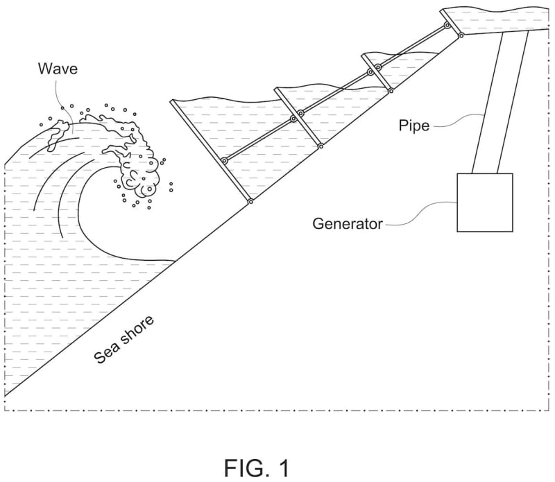
The power of each wave hitting the shore is all the energy input required to lift water to an elevation where gravity takes over and drives a generator.
A set of interconnected and hinged panels are impacted by the wave striking the shore. The wave flattens the panels as they guide the water up past each succeeding panel. As the wave starts to retreat, the panels open up and capture the water in flexible containers filling each to capacity.
When the wave hits again, all the panels flatten out each creating a wave to push the water contained in the flexible containers up to the next level. This is repeated as each strike of the wave pushes water to a higher level.
Each panel is about 50% smaller than the previous one so less energy is needed to create a wave. The water outflow from each panel is formed into a wave that maximizes the water splashing to the higher level.
Depending on the sea shore and the power of the waves hitting it, this 100% green technology could be transported to any site to generate electricity as needed.
The size of the system would have to be optimized to each site. The number and size of the panels as well as the flexible water containers behind each could be assembled on site.
Like this entry?
-
About the Entrant
- Name:Balint Szent Miklosy
- Type of entry:individual
- Software used for this entry:Outsourced
- Patent status:none

