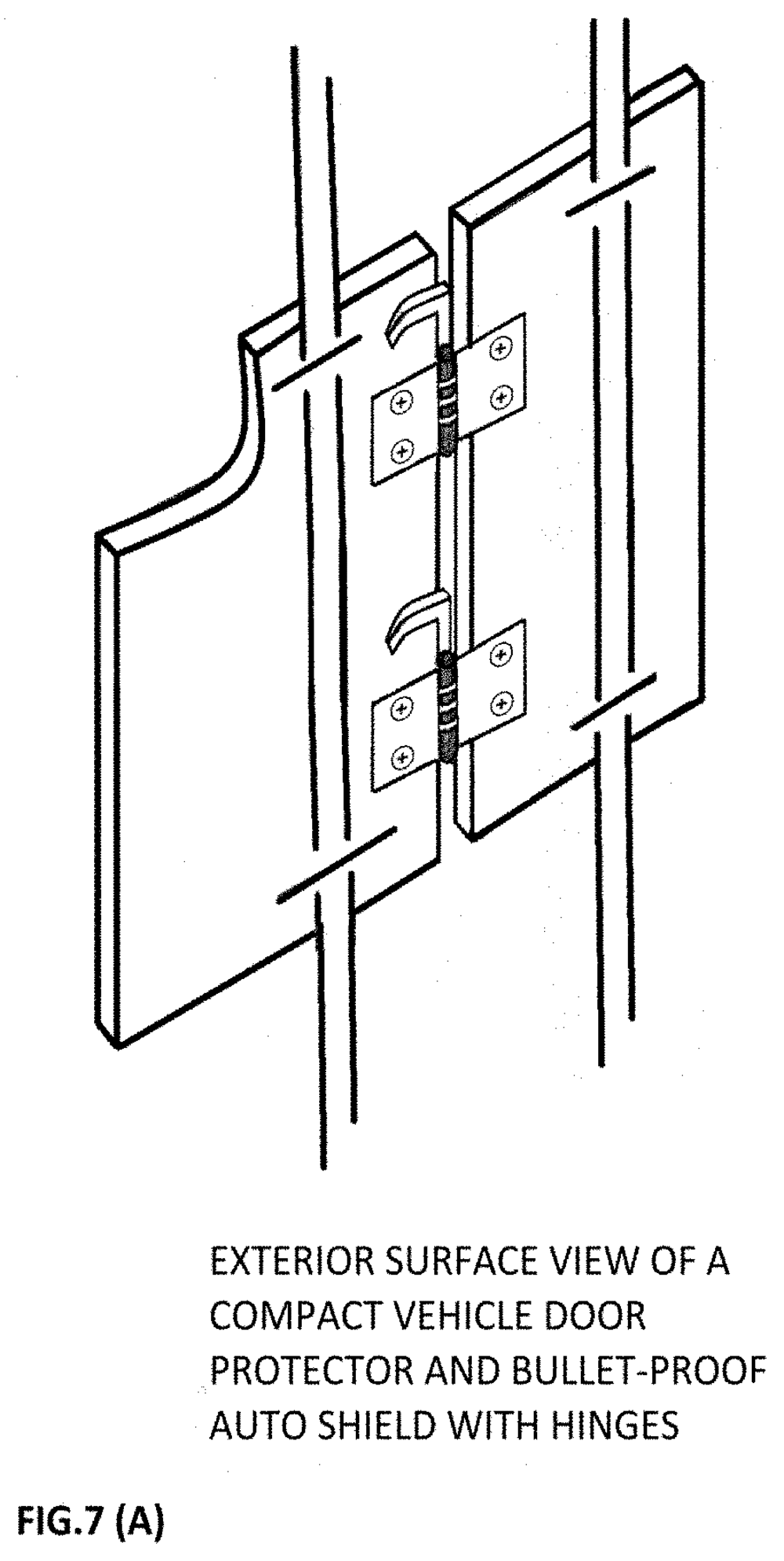
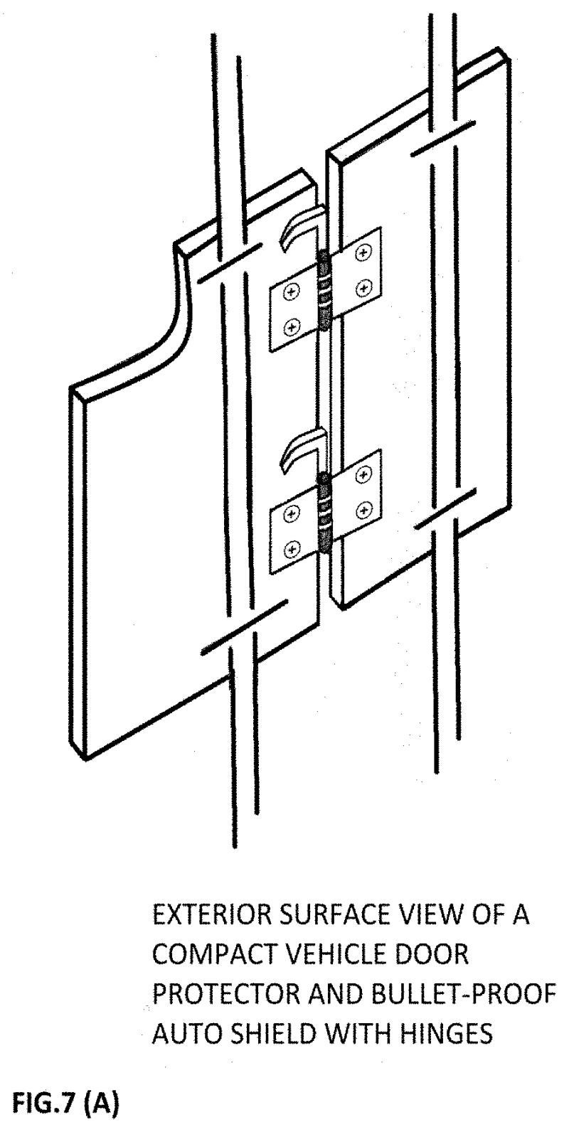
A compact vehicle door protector and Bullet-proof Auto Shield that protects any type of vehicle such as but not limited to a car, truck, sports utility vehicle, van, aircraft, which is easy and quick to install, and removable from vehicle, folded and stored away compactly before and after use, and more importantly serves as an auto door shield, capable of protecting the driver and occupants of the vehicle from harmful bullets or projectiles, while the extant vehicle is stationary or in motion.
It is detachable after use, and is designed so it can be worn while the vehicle is in motion.
Enclosed pictures are self-explanatory.
Like this entry?
-
About the Entrant
- Name:Muthukumaran Azhagesan
- Type of entry:individual
- Profession:
- Number of times previously entering contest:3
- Muthukumaran's favorite design and analysis tools:Design & research: Autodesk Inventor Professional, Microsoft Paint, Powerpoint, Excel, whole MS Office Suite, Github Co Pilot, Open AI, Google Gemini, Perplexity.ai, DALLE.3, Mac Key Note, MacOS iMovie, and numerous other software & websites.
- Muthukumaran's hobbies and activities:movies, inventing, AI & ML, reading books, etc.
- Muthukumaran belongs to these online communities:Linkedin.com/in/mazhagesan
- Muthukumaran is inspired by:Great Inventors and Visionaries like Mr. Thomas Edison, Mr. Nikolas Tesla, Mr. Bill Gates, Mr. Elon Musk, Ms. Marie Curie, Mr. G.T. Naidu, and many other accomplished Innovators/Inventors. I've read Enid Blyton stories, and New Scientist Magazine, as a child.
Interested in my inventions and/or software: iOS, AI/ML Models ? : email me: kumar.algate@gmail.com or message me on linkedin. or call me +1 832.655.9594 - Software used for this entry:Microsoft's Many Software Products
- Patent status:pending


