The invention relates to the use of the collision of matter and antimatter as a means of propulsion in a spacecraft, to the control system for said engine and to a block diagram of the connections for same, in which all of the functions are divided into modules. Said invention refers to a form of propulsion that is totally different to those know at present, which enables spacecraft to move considerably faster in outer space and to reach up to one third of the speed light owing to the controlled collision of matter and antimatter. The control system works in conjunction with the engine in order to control the collision and to maintain the optimal parameters for performing said movement.
As seen in FIG. 1, the engine is mainly composed of: a hydrogen tank, pressure transducer for the hydrogen tank, a hydrogen tank level switch which indicates the level of hydrogen, a hydrogen charger, two helium tanks, a pressure transducer for the helium tanks, a level switch for each helium tank, a helium charger to fill the tanks, two antimatter containers, magnets, magnetic coils, an accumulator and two turbines.
To start the engine, it is important to analyze the quantity of hydrogen available to create the reaction, which is why there are two sensors that measure the level of liquid, in this case hydrogen, to send to the control system the quantity of hydrogen which will mix with anti-hydrogen (approximately one atom for every anti-atom) to create the required reaction.
[0006] Two auxiliary valves that will be releasing hydrogen to the engine, a check valve which will indicate the pressure in the system to see if it is out its limits, in case the control system fails.
[0007] The anti-atom continues moving down, but now through magnetic coils, which are placed after the magnets to direct the anti-atom to its destination, without colliding with an atom (the magnets or magnetic coils attract particles to the walls leaving antiparticles free in the center so they will not collide before time).
[0008] As anti-atoms move down, the required hydrogen atoms for an explosion begin to be released through hydrogen injectors. The injectors are responsible for sending hydrogen to where the anti-hydrogen is to produce a collision between them and thus causing the required reaction.
[0009] As they reach the turbines there is an explosion between atoms and anti-atoms, the turbines function is to change the free energy into kinetic energy, creating propulsion as the turbines spin and direct the explosion, releasing it at the nozzle and thus discharging it in space after creating the required impulse to move the aircraft.
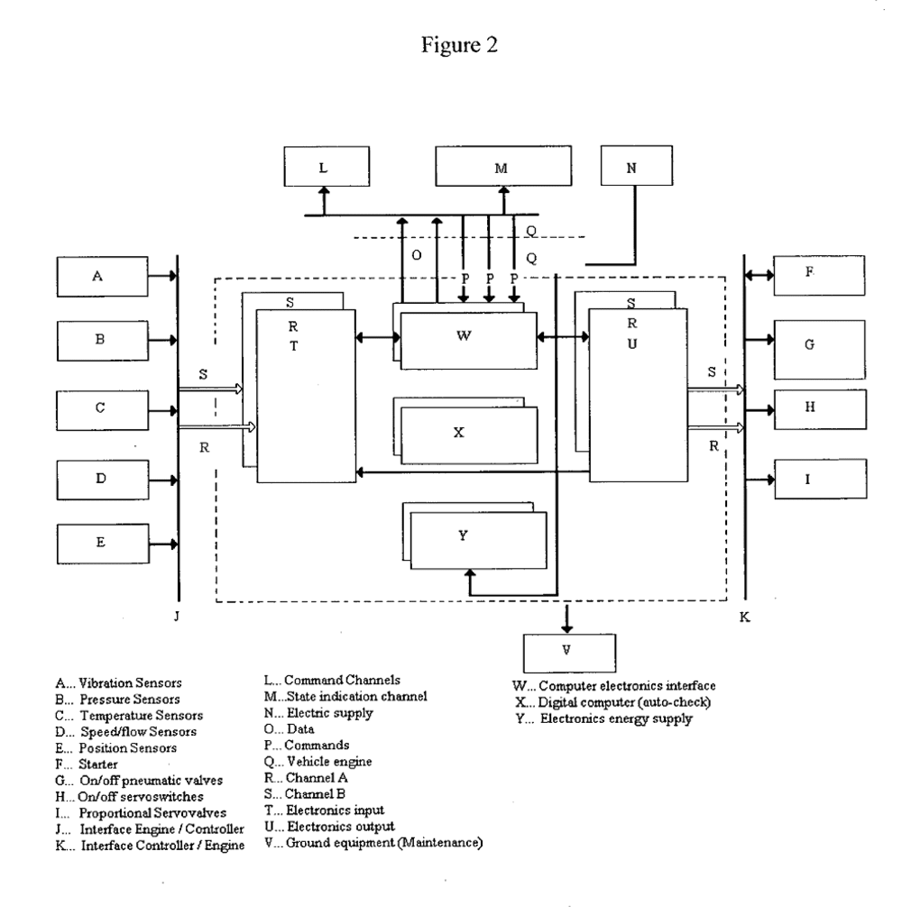
[0010] The control system in FIG. 2 is composed of entering data from the engine sensor (entering electronics) divided by vibration, pressure, temperature, fluid/velocity, and position sensors, as well as the electronics input, which is the interface between the engine and the controller channeling the signals given by the entry sensors through two channels (A and B) transforming the signals...
Like this entry?
-
About the Entrant
- Name:Fernando De La Pena Llaca
- Type of entry:individual
- Software used for this entry:ProE Wildfire
- Patent status:patented


