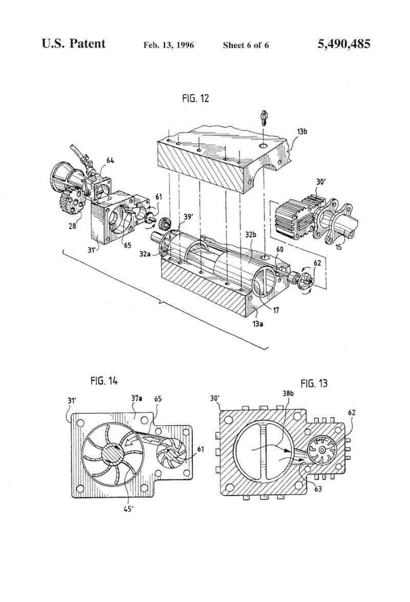
I have designed, build it and tested also have a patent on this engine design. This new design (SVPC) is using only one valve per cylinder for Intake and Exhaust cycles. A rotor above it rotates the fluid flow to needed ports. This design is very applicable for Diesel engines and Direct injected Gasoline IC Engines.
This design allows fluid flow much larger then 4 or 5 valve per cylinder engines, variable timing can be applied to maximum usage (design can even be used as throttle). Valve is on Exhaust closing time is cold so there is no hot spots on the valve so less or no additives to fuel needed. Electromagnetic valve control can be easily applied since they only control one valve. BMW did extensive research and development on electromagnetically controlled valve design on two valve per cylinder engine but they given up because having two electromagnets per cylinder drained too much energy and the engine was too noisy. On SVPC engine it is required only one electromagnet is used per cylinder. Because of cool closing after exhaust flow the engine head does not required to be rebuilt 1 to 2 ratio (1 head rebuilt mileage 2 engine rebuilt mileage).
Like this entry?
-
About the Entrant
- Name:Iskender Kutlucinar
- Type of entry:individual
- Software used for this entry:All patent and technical drawings are done by hand.
- Patent status:patented
