PLATINUM SPONSORS

Platinum Sponsors
  • Login
  • Sign Up
  • How to Vote
  • About
  • Rules & Tips
  • Entries
  • Archive
  • Prizes
  • FAQs
  • Contact
  • Login
  • Sign Up

  • How to Vote

  • About
  • Rules & Tips
  • Entries
  • Archive
  • Prizes
  • FAQs
  • Contact
  1. Home
  2. 2019
  3. Entries

2019
Entries

One Way Electric Socket

Electric shock is a worldwide problem especially for kids at home. There have been many reports of kids inserting their fingers on wall sockets on all holes electrocuting them. This is parents biggest nightmare especially if there is a loose wall socket. AC or DC, you only get electrocuted if current passes through your body.

READ MORE

Anteneh Gashaw
Addis Ababa, Ethiopia
Votes: 7
Views: 2464
Consumer Products
May 28, 2019

Optical Refueling of Ultra-lightweight Vehicles

Ultra-lightweight vehicles are being developed to provide a number of high tech, long duration functions during flight. Applications including: military, weather, shipping, safety, commercial, border control, etc. applications. These vehicles typically are large, fragile, solar powered aircraft operating at between 50,000 and 90,000 feet for days to months timeframes.

READ MORE

Douglas Jungwirth
Porter Ranch, United States
Votes: 1
Views: 2084
Aerospace & Defense
Jul 1, 2019

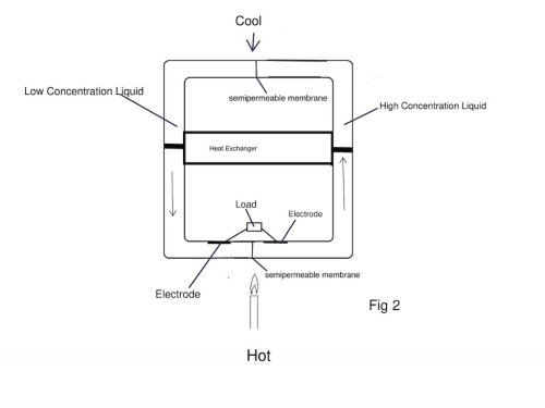
Osmosis Generator

We live in a world that needs more electric power. This increase in power must be produced by a source that produces no carbon dioxide. This new energy must also be present in large quantities and must be able to be extracted cheaply.

READ MORE

Jerry Semer
Bellevue, United States
Votes: 2
Views: 2640
Sustainable Technologies
Jun 29, 2019

Panic Flashlight

Sexual assault and violence is notoriously hard to quantify but it happens everywhere – in farm fields, on the night shift and in the military. And it happens more often than we might think. According to a new data analysis from researchers at the University of Michigan, by the time women are in their mid-40s,

READ MORE

Egor Burlachenko
Kyiv, Ukraine
Votes: 3
Views: 2402
Consumer Products
Jul 1, 2019

Panic Sensor

Panic Sensor, sensor used to tap brain waves and electrical signals of a human being, especially for women and children. This sensor is connected virtually to the person owning a mobile device. The signal is continuously monitored for the panic, fear or any other odd signal due to emergency that a person will develop, by the Panic Sensor.

READ MORE

Senthil Ram Nagapillai Durairaj
Kanchipuram District,, India
Votes: 1
Views: 2237
Consumer Products
Jul 2, 2019

Panipuri: Another Goods Vendor’s Mobile Stall Cum Carrier with Shade

Mobile vendors carry their goods by hire of three/four wheeler pedal or engine goods carriage, or by walking. Because they do not have a huge space at their home to garage the van/car.

READ MORE

Somnath Garai
Dist-south 24 Parganas, India
Votes: 0
Views: 1879
Automotive/​Transportation
May 24, 2019

passwordsFAST

passwordsFAST is an offline, compact, electronic password keeper. You just have to remember one simple password to access all other passwords. This allows you to have strong passwords without having to remember them, which, is the best defense against hackers. Data is encrypted using AES256 encryption which is combined with cipher block chaining and key stretching algorithms.

READ MORE

Leann Bell
Centerville, United States
Votes: 9
Views: 2935
Consumer Products
Jun 26, 2019

Pavement Solar System

We are experimenting with inserting a working fluid circulation loop into the asphalt pavement of shopping center parking lots to determine if the solar energy captured by the pavement can contribute substantially to the energy demand of stores, apartment buildings, schools and other high energy use properties.

READ MORE

Lee Fellows
Georgetown, United States
Votes: 0
Views: 1691
Sustainable Technologies
May 28, 2019

PC Damper

This project is about building a low cost personal computer or a laptop damper to prevent damage when the laptop falls to the ground. This is done by installing four small structures as seen in the diagram. The four structures are fixed in all four edges of the laptop.

READ MORE

Anteneh Gashaw
Addis Ababa, Ethiopia
Votes: 3
Views: 2359
Electronics/​Sensors/​IoT
Jun 21, 2019

Perpetual Motion Automotive Motor

Perpetual Motion Automotive Motor ( A "zero emission vehicle" )

In the years and decades to come oil will become exceedingly expensive as the oil was not grown for industrial use but rather harvested from earth's deposits.

READ MORE

Eric Crews
Blacksburg, United States
Votes: 0
Views: 2764
Automotive/​Transportation
May 7, 2019

Page 34 of 52

  • 29
  • 30
  • 31
  • 32
  • 33
  • 34
  • 35
  • 36
  • 37
  • 38

View Entries by

Contest Category

  • Aerospace & Defense
  • Automotive/​​​Transportation
  • Electronics
  • Energy, Power & Propulsion
  • Manufacturing & Materials
  • Medical
  • Robotics & Automation

Also

  • Tag Cloud
  • 2025 Entrants
  • Number of Votes
  • Number of Page Views
  • View All Entries

2025 Contest Results

  • Grand Prize & Category Winners
  • Top 100 Entries
  • Browse All the Entries
  • Final Voting Scoreboard
  • Meet the Judges

Follow Us

Sign In
Forgot Login?

 Contest Notifications: Click here for the full list of 2025 winning entries

  • © 2025 SAE Media Group
  • Privacy Policy
  • Service Status