PLATINUM SPONSORS

Platinum Sponsors
  • Login
  • Sign Up
  • How to Vote
  • About
  • Rules & Tips
  • Entries
  • Archive
  • Prizes
  • FAQs
  • Contact
  • Login
  • Sign Up

  • How to Vote

  • About
  • Rules & Tips
  • Entries
  • Archive
  • Prizes
  • FAQs
  • Contact
  1. Home
  2. 2020
  3. Entries

2020
Entries

The Launch Ring

Rocket launch to space is expensive – typically thousands of dollars per pound. But now there is an alternative. High-force magnetic levitation makes it possible to construct a circular accelerator – the “Launch Ring” – with the potential to launch multiple payloads per hour into orbit at far lower cost.

The conceptual design,

READ MORE

Jim Fiske
Santa Barbara, United States
Votes: 0
Views: 2381
Aerospace & Defense
Jul 1, 2020

The mNEHRON Artificial Kidney Dialyzer to Replace 60-Year-Old Hollow Fiber Dialyzers

This proposal introduces the proprietary, innovative and breakthrough dialyzers termed the “mNEPHRON” Artificial Kidney Dialyzers that are designed to be biomimetic, modular and miniaturized to replace the 60-year-old inefficient and bulky hollow-fiber-dialyzers currently in clinical use. Dialyzers (hemofilters) are the vital part of every hemodialysis machine.

READ MORE

Mordechai Nosrati
Woodland Hills, United States
Votes: 0
Views: 2205
Medical
Apr 12, 2020

The Modular, Scalable and Wearable Microfluidic Bio-Artificial Pancreas (mPANCREAS) Mimicking the True Endocrine Pancreas

The pancreatic Islets contain Alpha cells, which release glucagon to avoid hypoglycemia and the Beta cells that release the insulin to allow cells to uptake the glucose. In type 1 diabetes (T1DM), the body's immune system destroys these beta cells and ability to make insulin.

READ MORE

Mordechai Nosrati
Woodland Hills, United States
Votes: 1
Views: 1915
Medical
Apr 13, 2020

The Platypus

The Platypus is the first small-scale, low-cost Wave Energy Converter (WEC) designed for coastal emergencies and the desalination of water. The state-of-the-art machine converts ocean wave energy into electricity. The movements of surface seawater put Platypus to work as a dependable generator of electrical power.

READ MORE

Mark Supal
Croswell, United States
Votes: 27
Views: 3019
Sustainable Technologies/​Future Energy
Jun 24, 2020

The Portable Tree - Atmosphere Transformation Project

The Portable Tree - ATMOSPHERE TRANSFORMATION PROJECT

NAME

Trees are responsible for the production of oxygen in the world, but despite their great virtues, they are limited to producing and developing in specific environments, so thinking of producing oxygen in hostile places like Mars is far from being a reality, but for this the solution is the Portable Tree.

READ MORE

Jonar Cubillan
Maracaibo, Venezuela
Votes: 242
Views: 6674
Sustainable Technologies/​Future Energy
May 4, 2020

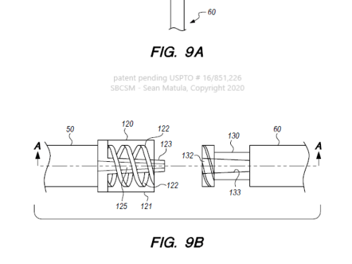
The Stethoscope "Reinvented"

A stethoscope reinvented for modern healthcare. By using engineering controls, separating the stethoscope into an upper and lower section, you can greatly reduce the risk of infectious disease transmission and hospital acquired infections.

READ MORE

Sean Matula
Houston, United States
Votes: 16
Views: 2431
Medical
Jun 15, 2020

The uNick Mouse

There are many types of computer mice currently in the market, but very few adequately address the limitations of individuals with disabilities. Most accessible computer mice use a power wheelchair joystick, sip and puff devices, buttons and switches or a combination of the three to control the directional movement of a mouse.

READ MORE

Nicholas Clemmons
Oklahoma City, United States
Votes: 3
Views: 3392
Consumer Product Design
Jul 2, 2020

The World's First Filtered Water Bottle Made From Plants!

We wanted to rethink the way most people consume water to develop an honest, Eco-friendly product to help solve the global plastic waste crisis. The single-use bottled water industry consumes millions of barrels of crude oil each year to manufacture and transport their plastic bottles which pollute the planet and harm wildlife.

READ MORE

Tom Smokoff
Midvale, United States
Votes: 1
Views: 2084
Sustainable Technologies/​Future Energy
Jul 1, 2020

Thermionic Wave Generator (TWG)

Direct conversion of thermal energy (heat) to electricity.

In collaboration with Argonne National Laboratory (Argonne), we have developed a proof-of-concept (TRL 5, as defined by DOE/NASA), electronic, wafer fabricated device for cheap, efficient direct conversion of thermal energy (heat) to electricity.

READ MORE

John Read
San Diego, United States
Votes: 0
Views: 3845
Sustainable Technologies/​Future Energy
Jun 29, 2020

Thermobracelet VS COVID-19

This project is about solving the current Coronavirus crisis of the world by developing a tool that can spot a person infected with Coronavirus before doing an actual testing on that specific person.

READ MORE

Anteneh Gashaw
Addis Ababa, Ethiopia
Votes: 0
Views: 2356
Medical
May 10, 2020

Page 50 of 57

  • 45
  • 46
  • 47
  • 48
  • 49
  • 50
  • 51
  • 52
  • 53
  • 54

View Entries by

Contest Category

  • Aerospace & Defense
  • Automotive/​​​Transportation
  • Electronics
  • Energy, Power & Propulsion
  • Manufacturing & Materials
  • Medical
  • Robotics & Automation

Also

  • Tag Cloud
  • 2025 Entrants
  • Number of Votes
  • Number of Page Views
  • View All Entries

2025 Contest Results

  • Grand Prize & Category Winners
  • Top 100 Entries
  • Browse All the Entries
  • Final Voting Scoreboard
  • Meet the Judges

Follow Us

Sign In
Forgot Login?

 Contest Notifications: Click here for the full list of 2025 winning entries

  • © 2025 SAE Media Group
  • Privacy Policy
  • Service Status