PLATINUM SPONSORS

Platinum Sponsors
  • Login
  • Sign Up
  • How to Vote
  • About
  • Rules & Tips
  • Entries
  • Archive
  • Prizes
  • FAQs
  • Contact
  • Login
  • Sign Up

  • How to Vote

  • About
  • Rules & Tips
  • Entries
  • Archive
  • Prizes
  • FAQs
  • Contact
  1. Home
  2. 2021
  3. Entries
  4. Entries

2021
Consumer Product Design

Anteneh's Safa

Do you know that people in many part of the world wash their clothing in a river, lake or a stream? If you are not aware, well you are about to be.

READ MORE

Anteneh Gashaw
Addis Ababa, Ethiopia
Votes: 1
Views: 1724
Consumer Product Design
Apr 9, 2021

Automatically Detecting & Wiping Stolen Mobile Devices in Under 10 Seconds!

Riskut – A New Approach to Device and Data Security

A new category in the mobile device and data protection marketplace.

Riskut is the initial product offering of the ProximID Group, which has developed unique solutions based on security by proximity.

READ MORE

Guy Hendel
Dover, United States
Votes: 0
Views: 1557
Consumer Product Design
Jul 1, 2021

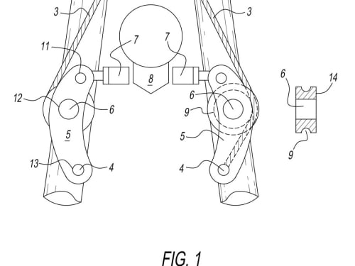
Bicycle Brake

Just awarded patent, so new haven't received Patent Number yet, paid issue fee. Here's the link to the application and below is the final claim wording.

A linear brake for a bicycle comprising a pair of pivot mounts, each of which is mounted on a bicycle member laterally of a wheel rim,

READ MORE

John Mcintyre
Traverse City, United States
Votes: 1
Views: 1647
Consumer Product Design
May 7, 2021

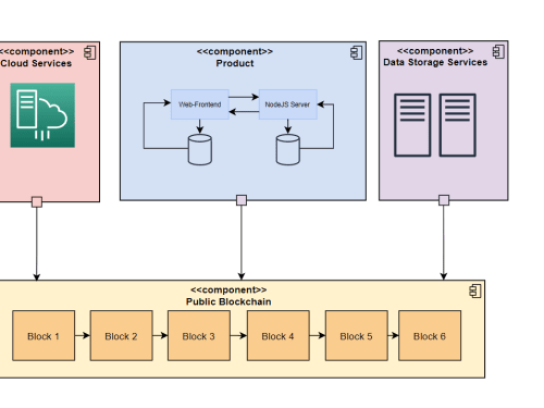
Blockchain Platform For Decentralized Applications

Introduction

Blockchain technology has caused a tremendous impact in both academia and business market. Since there are centralized servers used in generally, we have recognized:

The growth in load on the servers which might lead to server crashing and failure.

High dependency on external could services that might prove to be high in cost.

READ MORE

Vishesh Tayal
Hyderabad, India
Votes: 0
Views: 1561
Consumer Product Design
Jul 1, 2021

Breakthrough Polyurethane for Comfort Applications

HYPOL™ JM 5013 / JB 1009 is a two-component, water-based, catalyst-free polyurethane chemistry for comfort products. Manufacturers are challenged to deliver safety, comfort and sustainability in one single product. Conventional hydrophobic polyurethanes have superior mechanical performance but lack heat- moisture management and tend to emit VOC. Conversely, hydrophilic polyurethanes have poor mechanical performance but good heat,

READ MORE

Yasmin Srivastava
Lake Jackson, United States
Votes: 0
Views: 4534
Consumer Product Design
Jun 30, 2021

Car Seat Horn

This is a concept for a non-stick car seat "horn" to help get in and out of a car. After a lengthy hospital stay, my mobility was impaired. When I got into my car or any car, my clothes would stick to the seat fabric. I didn't have enough energy to twist around and get into place.

READ MORE

Christopher Nohrnberg
Davis, United States
Votes: 0
Views: 1450
Consumer Product Design
May 23, 2021

Chill Breeze Smart Bed

In today’s ‘Too-busy’ world, sleep is very essential as it is important for people not to wake up sweaty and weary. Sound sleep helps individuals to kick in their day. In hot countries, a sweaty and uncomfortable feeling especially during summer is a common problem. To avoid this problem,

READ MORE

Ashwin Anand
Chennai, India
Votes: 29
Views: 2077
Consumer Product Design
Jul 1, 2021

Close-range Object Detection for the Visually Impaired

Our everyday lives rely significantly on visual input, which pose multiple challenges for the visually impaired. Technology and ingenuity have provided tools to manage some of these challenges, but close-range object detection still has not been effectively addressed. Situations such as going to a restaurant and locating utensils,

READ MORE

Osvaldo Buccafusca
Fort Collins, United States
Votes: 6
Views: 1955
Consumer Product Design
Jun 11, 2021

Depth Thread Plug Gauge

Abstract

A depth thread plug gauge is a device that can measure the size of the thread and the depth of the thread, both in a single go. Conventionally, to measure the depth of a thread, external instrumentation is required which consumes extra time.

READ MORE

Himanshu Bisht
Chandigarh, India
Votes: 10
Views: 1647
Consumer Product Design
Jul 1, 2021

Desinfecting Case "Villo"

I am deeply concerned about the epidemiological situation in the world. We can stop the pandemic if we observe safety measures and use protective masks and antiseptics. But not everyone in the world does it. Therefore, I developed a special pocket case for mask disinfection. It can also be used as an antiseptic spray.

READ MORE

Igor Abakumov
Tomsk, Russia
Votes: 0
Views: 1804
Consumer Product Design
Mar 18, 2021

Page 2 of 8

  • 1
  • 2
  • 3
  • 4
  • 5
  • 6
  • 7
  • 8

View Entries by

Contest Category

  • Aerospace & Defense
  • Automotive/​​​Transportation
  • Electronics
  • Energy, Power & Propulsion
  • Manufacturing & Materials
  • Medical
  • Robotics & Automation

Also

  • Tag Cloud
  • 2025 Entrants
  • Number of Votes
  • Number of Page Views
  • View All Entries

2025 Contest Results

  • Grand Prize & Category Winners
  • Top 100 Entries
  • Browse All the Entries
  • Final Voting Scoreboard
  • Meet the Judges

Follow Us

Sign In
Forgot Login?

 Contest Notifications: Click here for the full list of 2025 winning entries

  • © 2025 SAE Media Group
  • Privacy Policy
  • Service Status