PLATINUM SPONSORS

Platinum Sponsors
  • Login
  • Sign Up
  • How to Vote
  • About
  • Rules & Tips
  • Entries
  • Archive
  • Prizes
  • FAQs
  • Contact
  • Login
  • Sign Up

  • How to Vote

  • About
  • Rules & Tips
  • Entries
  • Archive
  • Prizes
  • FAQs
  • Contact
  1. Home
  2. 2021
  3. Entries
  4. Entries

2021
Consumer Product Design

Sleep Guardian

Air conditioning was originally developed to provide a better sleep environment. However, thermal comfort is unique to every person especially during the sleep state.

READ MORE

Steven Kuehl
Sylva, United States
Votes: 1
Views: 1585
Consumer Product Design
May 4, 2021

Smart Module for Healthcare and Asset Monitoring

The aim is to design and develop a smart module that can provide possibilities for usage in personal health and asset monitoring, wearables, and smart homes. The Smart modules will be developed with RSL10-SENSE-GEVK as the core component connected to a custom-made mobile application via BLE for external access, monitoring, and control.

READ MORE

Cris Thomas
Torino, Italy
Votes: 1
Views: 1411
Consumer Product Design
Jul 2, 2021

SueChef - Autonomous Kitchen Robot - Freezer to Oven Remote Cooking

SueChef is the first fully automated, start-to-finish, meal preparation solution and ecosystem. The SueChef, a multi-meal cold food storage and convection oven combination, removes the human element from cooking (and even the premises) by taking food from freezer and putting it in the oven.

READ MORE

Maxwell Wieder
Sykesville, United States
Votes: 1
Views: 3217
Consumer Product Design
Mar 31, 2021

Swimming Pool Safety Buoy

Background: Swimming pool drownings are one of the most feared threats to our children. Globally, the highest drowning rates are among children 1–4 years, followed by children 5–9 years of age. Eighty-seven percent of drowning fatalities happen in home pools and spas for children under five. Regardless of the statistics, pool drownings are a threat to all ages.

READ MORE

Vincent Maes
Northglenn, United States
Votes: 8
Views: 2154
Consumer Product Design
Jul 6, 2021

Take Cover

The Take Cover is a patented D 834753S concept with approved Trademarks and is a Type IV body conforming flotation system to be used during disasters such as tornadoes, tsunamis, flash floods and earthquakes. Use of this invention will provide immediate life-preserving response when faced with natural disasters, and it will prevent many injuries and fatalities.

READ MORE

Bobby Floyd
Anchorage, United States
Votes: 2
Views: 1853
Consumer Product Design
Apr 25, 2021

The DART

Requirements for the Dart

As a design approach we used the axiom of, "make something you would want to use" and balanced that against existing technologies with strong performance so that a realistically functional and dependable device could be made that could fully leverage the most powerful parts of the human body and natural forces.

READ MORE

Gavin Greaves
Cairns, Australia
Votes: 3
Views: 1532
Consumer Product Design
Jun 17, 2021

Top Loading Stapler

Abstract

Presently with the staplers that are available in the market, the reloading of the stapler pins is a tedious and a cumbersome task. The stapler needs to be opened from the middle for the refilling of the cartridge. Our innovation deals with making the job of refilling the cartridge of the stapler simple and effortless.

READ MORE

Himanshu Bisht
Chandigarh, India
Votes: 8
Views: 1616
Consumer Product Design
Jul 1, 2021

UV Shield COVID and Virus Protector

LoveMyUVShield is a headwear device protecting anyone wearing it against pathogens and viruses. It can be used as an additional measure of protection, or eliminate the need to wear masks and other protective means when in public settings. LoveMyUVShield is safe for travel, easily stored, and lasts for over 13 hours using alkaline AA batteries that may be rechargeable.

READ MORE

Petro Tsarehradsky
Bonita Springs, United States
Votes: 1
Views: 1430
Consumer Product Design
Jun 30, 2021

VAYU Tower Cooler

VAYU is a modern tower cooler designed for urban spaces. It has a compact monolithic form with carefully packed components which enables it to purify the air and even cools it efficiently through evaporative cooling. With its simple geometrical and subtle design language, it blends into the home decor without compromising on cooling.

Based on user observation,

READ MORE

Sumeet Singh
Ranchi, India
Votes: 0
Views: 1828
Consumer Product Design
Jul 1, 2021

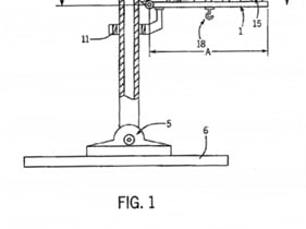
Vibrating Platform for Lifting and Moving Loads

Various methods and mechanisms are known for lifting and moving loads. At the same time, we (Grigori and Oleg Lishanski, US Patent No. 10,214,398 B2, February 26, 2019) have developed and offer a previously unknown method of lifting and moving cargo and a device for its implementation.

READ MORE

Grigori & Oleg Lishanski
Thiensville, United States
Votes: 0
Views: 2271
Consumer Product Design
Apr 20, 2021

Page 7 of 8

  • 1
  • 2
  • 3
  • 4
  • 5
  • 6
  • 7
  • 8

View Entries by

Contest Category

  • Aerospace & Defense
  • Automotive/​​​Transportation
  • Electronics
  • Energy, Power & Propulsion
  • Manufacturing & Materials
  • Medical
  • Robotics & Automation

Also

  • Tag Cloud
  • 2025 Entrants
  • Number of Votes
  • Number of Page Views
  • View All Entries

2025 Contest Results

  • Grand Prize & Category Winners
  • Top 100 Entries
  • Browse All the Entries
  • Final Voting Scoreboard
  • Meet the Judges

Follow Us

Sign In
Forgot Login?

 Contest Notifications: Click here for the full list of 2025 winning entries

  • © 2025 SAE Media Group
  • Privacy Policy
  • Service Status