PLATINUM SPONSORS

Platinum Sponsors
  • Login
  • Sign Up
  • How to Vote
  • About
  • Rules & Tips
  • Entries
  • Archive
  • Prizes
  • FAQs
  • Contact
  • Login
  • Sign Up

  • How to Vote

  • About
  • Rules & Tips
  • Entries
  • Archive
  • Prizes
  • FAQs
  • Contact
  1. Home
  2. 2012
  3. Entries
  4. Entries

2012
Safety and Security

Behavioural Monitoring System - Driving

Aim :

To rate the driving practice and behavior among drivers and rate them by their driving behavior

Objective:

To assess the driver's behavior and driving practice in terms of response and reaction time to a fellow motorist and pedestrians and to identify poor drivers & scrutinizing their driving habits.

READ MORE

Sivakumar Ghansekar
Chennai, India
Votes: 0
Views: 4209
Safety and Security
Jun 30, 2012

Bringing Clean Drinking Water to Third World Countries

How would the world react if a news report was released involving 20 crashed jumbo jets filled with children? This hideous thought happens every day. However instead of crashed planes, this number is generated from the 6,000 children that die every day from a lack of safe drinking water. If this fact does not raise your attention,

READ MORE

Matthew Schell
Branford, United States
Votes: 0
Views: 10398
Safety and Security
Jul 1, 2012

Car Alert for Blind People

Blind people are constantly at risk for being hit by cars which they cannot see. Especially in contemporary society where cars are getting quieter and quieter (electric cars produce essentially no noise) it is extremely important to be able to alert blind people of oncoming traffic.

READ MORE

Cuthbert Sun
Bloomfield Hills, United States
Votes: 0
Views: 4725
Safety and Security
Jul 1, 2012

Child Trakker System

Parents are concerned about the whereabouts of their children but it is impractical, if not impossible, to keep an eye on them at all times. This simple device will monitor the location of their child and let the parent know if he/she wanders outside either a predetermined distance or beyond specific locations that are entered into the system.

READ MORE

James Cecere
Woodbury, United States
Votes: 0
Views: 3978
Safety and Security
Jul 1, 2012

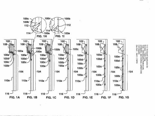
Compact Stacking, Rapidly Deployable, Interlocking Panel System

To create doors, walls, roofs, barriers, security shutters and many other planar surfaces that can span large contiguous areas but may also be stored in a compact stack for transport or architectural needs. (Panels may also be curved for arches or domes etc.)

The individual panels may be made of many types of solid materials, or may be of composite,

READ MORE

Clark Craig
Winston Salem, United States
Votes: 19
Views: 8937
Safety and Security
Mar 2, 2012

Compressor Lift Rigging

Removing a compressor from a package air-conditioner has a number of challenges. There is usually little to rig any lifting equipment, the compressor is well over the weight anyone should attempt to lift alone. Removing the unit top and using a very large mobile crane is a possible solution, though very expensive to do.

READ MORE

George Gunter
Washington, United States
Votes: 0
Views: 8722
Safety and Security
May 17, 2012

Daily Driving Safety

Mi invention consist of a video device that can be installed in any vehicle in order to have a way to maintain a constant monitoring of the daily driving each individual performs.

This device is built using up to four modules, each module has a video camera, and integrated microphone and a solid state memory;

READ MORE

Ricardo Dominguez
Bonita, United States
Votes: 0
Views: 4267
Safety and Security
Jul 1, 2012

Deflection of Asteroids by Sun Light Retro Reflection

Time to time the Earth gets hit by an asteroid. This can be potentially very serious threat for a continent or entire humanity. Since 90's there is ongoing observation for to spot potentially dangerous asteroids. So far there are more than 5000 objects with known trajectories. Some of them have potential for collision in future.

READ MORE

Daniel Kopkane
Brno, Czech Republic
Votes: 0
Views: 5303
Safety and Security
Jun 29, 2012

DIY Survival Capsule/Escape Pod

This DIY Survival Capsule (Escape Pod, Storm Shelter) was designed to save the lives of its occupants, in case of natural disasters. The picture show the first capsule (MKPOD1), used for real scale and FEA (Structural and CFD) tests.

BASIC SPECIFICATIONS:

-Capacity: 5 people - 1,250 lbs [567 Kg]

-Dimensions: Height: 41 in [1041 mm],

READ MORE

Xabier Sanjuan
Orlando, United States
Votes: 24
Views: 15134
Safety and Security
Jun 22, 2012

Dry Snorkel Cold Immersion Suit for Hypothermia Prevention

This innovation successfully merges two existing technologies (Dry Snorkel and Cold Immersion Suit technologies), to produce a new product that helps prevent hypothermia at sea. During normal breathing or respiration a human inhales fresh air into their lungs and exhales CO2 at an approximate body temperature of 98.60F.

READ MORE

Joel Galofaro
Cleveland, United States
Votes: 0
Views: 8132
Safety and Security
Jun 4, 2012

Page 2 of 9

  • 1
  • 2
  • 3
  • 4
  • 5
  • 6
  • 7
  • 8
  • 9

View Entries by

Contest Category

  • Aerospace & Defense
  • Automotive/​​​Transportation
  • Electronics
  • Energy, Power & Propulsion
  • Manufacturing & Materials
  • Medical
  • Robotics & Automation

Also

  • Tag Cloud
  • 2025 Entrants
  • Number of Votes
  • Number of Page Views
  • View All Entries

2025 Contest Results

  • Grand Prize & Category Winners
  • Top 100 Entries
  • Browse All the Entries
  • Final Voting Scoreboard
  • Meet the Judges

Follow Us

Sign In
Forgot Login?

 Contest Notifications: Click here for the full list of 2025 winning entries

  • © 2025 SAE Media Group
  • Privacy Policy
  • Service Status