PLATINUM SPONSORS

Platinum Sponsors
  • Login
  • Sign Up
  • How to Vote
  • About
  • Rules & Tips
  • Entries
  • Archive
  • Prizes
  • FAQs
  • Contact
  • Login
  • Sign Up

  • How to Vote

  • About
  • Rules & Tips
  • Entries
  • Archive
  • Prizes
  • FAQs
  • Contact
  1. Home
  2. 2013
  3. Entries
  4. Entries

2013
Sustainable Technologies

Test Strip Mixture Indicators

Fullspeed Technology Inc. is a Canadian company led by Greg Ahira, an entrepreneur whose vision is to create and bring to market innovative productions. Fullspeed is developing a unique test strip product, “RightMix Strips,” that displays the mixture ratio of oil and fuel used in a two-stroke engine.

READ MORE

Greg Ahira
Burnaby, Canada
Votes: 15
Views: 16306
Sustainable Technologies
Apr 17, 2013

The Garbage Power

Most of the companies in Mombasa have been recycling plastic waste, glasses,and metallic waste leaving the heap of organic waste which forms 75% of the total garbage.

Open-air markets, beach hotels, fast food restaurants, and homes produce more than 200 tons of organic waste per day. The majority being fruits and vegetables.

READ MORE

Anthony Wanjala
Mombasa, Kenya
Votes: 41
Views: 5610
Sustainable Technologies
Jul 1, 2013

The Paradigm Shift in Wind Turbine Technology

Imagine a renewable energy source that can produce energy at a cost comparable to natural gas or hydroelectric generators using fewer resources, while being environmentally friendly.  Lux Wind Turbines are expected to cost less than 1/2 of conventional turbines and can be spaced closer together to extract more power with less land.

READ MORE

Glen Lux
Saskatoon, Canada
Votes: 46
Views: 17307
Sustainable Technologies
Jun 11, 2013

The Phase Explosion Injection for an Ultimate Motor Efficiency

The poor performance of today's thermic engines is due to the temperature inhomogeneity of the hot air. With today fuel injection, it’s difficult to obtain a uniform and stoichiometric air/fuel mixture in the combustion chamber, in the extremely short deadlines (the order of ms),

READ MORE

Jr Costes
Uchaux, France (includes Monaco)
Votes: 3
Views: 4722
Sustainable Technologies
Mar 28, 2013

Tracking Free Solar Concentrator

Solar energy is a dilute form of energy, to achieve temperatures above 90°C, the concentration of Solar radiations is must. Various types of concentrators are developed, namely Concave reflective, Convex transmissive, Fresnel lens based, Cylindrical line focusing or Spherical/Parabolic point focusing and so on. All these concentrators, depending upon the concentration ratio and overall system efficiency,

READ MORE

Ashutosh Jahagirdar
Aurangabad, India
Votes: 0
Views: 5446
Sustainable Technologies
Jun 17, 2013

Tuning the Sunlight

If I can to tune a broadcasting station, then I also can tune the sun's light because the light is an electromagnetic wave.

The tuning circuit (coil+capacitor) captures the electromagnetic signal from the light and generate

voltage.

In my country the resources do not exist for this project. Only the United States can do this project,

READ MORE

German Osorio
Buga, Colombia
Votes: 1
Views: 4769
Sustainable Technologies
Mar 1, 2013

Untethered Autonomous Flying Wind Power Plant

Untethered Autonomous Flying Wind Power Plant

Conventional wind power plants (WPP) have their limits due to the low energy density and fluctuations of surface winds, as well as their low efficiency. The idea of harnessing the more intensive, persistent high-altitude winds seems to be promising. Known devices are floating in the air and tethered to the ground.

READ MORE

Gabor Dobos
Bátonyterenye, Hungary
Votes: 0
Views: 4372
Sustainable Technologies
Jun 30, 2013

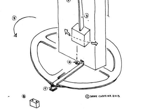
Using Earth Rotational Inertia as a Source of Energy

Surprisingly, if you bring a pendulum to the side, it will start to oscillate in a plan that remains unchanged even though you rotate its base. This is how Foucault demonstrated the rotation of the Earth.

This counterintuitive behavior could be used as a free source of energy.

READ MORE

Denis Carrier
N-d Du Nord, Canada
Votes: 1
Views: 5679
Sustainable Technologies
Apr 23, 2013

Using Trap Grease as a Low Cost Material for Biodiesel Feedstock Production

Trap grease is a mixture of water, solids, fat, oil and grease (FOG) that accumulate in grease traps/interceptors and sewer pipes. The FOG content in the trap grease is the major cause of the clogging and corrosion of municipal sewer pipes.

READ MORE

Qingshi Tu
Newport, United States
Votes: 1
Views: 6332
Sustainable Technologies
Jun 30, 2013

Versatile Wind Turbine Charger

Some of the greatest technological advances in modern day society have involved the improvements of the fuel efficiency in vehicles. However, a challenge arises with a current problem. In electrical systems, electricity is produced directly from the engine through the alternator, using up valuable fuel that could otherwise be used to keep the vehicle in motion.

READ MORE

Domingo Estrada
Fort Hancock, United States
Votes: 1
Views: 4192
Sustainable Technologies
Jun 30, 2013

Page 12 of 13

  • 4
  • 5
  • 6
  • 7
  • 8
  • 9
  • 10
  • 11
  • 12
  • 13

View Entries by

Contest Category

  • Aerospace & Defense
  • Automotive/​​​Transportation
  • Electronics
  • Energy, Power & Propulsion
  • Manufacturing & Materials
  • Medical
  • Robotics & Automation

Also

  • Tag Cloud
  • 2025 Entrants
  • Number of Votes
  • Number of Page Views
  • View All Entries

2025 Contest Results

  • Grand Prize & Category Winners
  • Top 100 Entries
  • Browse All the Entries
  • Final Voting Scoreboard
  • Meet the Judges

Follow Us

Sign In
Forgot Login?

 Contest Notifications: Click here for the full list of 2025 winning entries

  • © 2025 SAE Media Group
  • Privacy Policy
  • Service Status