PLATINUM SPONSORS

Platinum Sponsors
  • Login
  • Sign Up
  • How to Vote
  • About
  • Rules & Tips
  • Entries
  • Archive
  • Prizes
  • FAQs
  • Contact
  • Login
  • Sign Up

  • How to Vote

  • About
  • Rules & Tips
  • Entries
  • Archive
  • Prizes
  • FAQs
  • Contact
  1. Home
  2. 2015
  3. Entries
  4. Entries

2015
Machinery/​Automation/​Robotics

Automatic Wall Plastering Machine

The present work highlights the design and development of a prototype for automating plastering work in construction industry. The building construction is one of the most unfamiliar R&D activities in the robotics and automation community. Machines are capable of giving higher output with accuracy, precision and quality over a longer period of time than skilled manpower.

READ MORE

Bobby John
Ernakulam, India
Votes: 1
Views: 9348
Machinery/​Automation/​Robotics
Jun 30, 2015

Automatic Water Refilling System

Automatic water refilling system is the electro pneumatic system which can be used for filling the bottles which are kept in the refrigerator or otherwise. This system consists of an Arduino Controller which is used for programming and controlling the sequential operation. This type of system is only applicable to the bottle caps without thread and caps which 

READ MORE

Maharshi Trivedi
Nadiad-387 001, India
Votes: 3
Views: 6671
Machinery/​Automation/​Robotics
Jun 21, 2015

Automation In Coconut Powder Making: A Concept

Agriculture is the main revenue resource for many states in India. But labor community is more attracted towards new opportunities and higher pay hence the strength of the labor community is reduced. This is affecting the small scale industries such as coconut powder making industries. Today’

READ MORE

Nitheesh D Nayak
Manipal, India
Votes: 44
Views: 5136
Machinery/​Automation/​Robotics
Jun 27, 2015

Autonomous Quadcopter Launch and Retrieval System

Autonomous Quadcopter Launch and Retrieval System

Quadcopter drone technology exists that is capable of performing many tasks to assist people in everyday life. The missing element is to provide a hanger pod on a vehicle so that the drone is taken to and deployed from any location without physical intervention from the user.

READ MORE

John Miller
Easley, United States
Votes: 0
Views: 4459
Machinery/​Automation/​Robotics
May 12, 2015

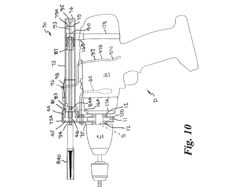
Auxiliary Drill Driver

With an Auxiliary Driver equipped power drill, you can drill a pilot hole and drive a screw in the hole using only one hand!

The Auxiliary Driver is a supplemental drill/driver that works with all power drills, drivers and rotary tools.

READ MORE

John Hays
Jersey Village, United States
Votes: 0
Views: 3577
Machinery/​Automation/​Robotics
Jun 30, 2015

Boxing & Martial Arts Training Device

Proposed prototype is designed to challenge & train the user in a 360 degree foot workout while using either a speed bag, or a heavy bag, or a double ended martial arts bag. The bottom platform is round & wide enough to accommodate two treadmill belts side by side driven by electric motor.

READ MORE

Encarnacion Gonzalez
Alice, United States
Votes: 0
Views: 2863
Machinery/​Automation/​Robotics
Jun 10, 2015

CAP Exoskeleton

Conventional exoskeletons are powered by a system of motion sensors and hydraulics, various problems like:

1. Very high cost of these parts result in high maintenance and electric power supply and these issues are still to be resolved.

2. Due to high production cost of these exoskeleton many industries and local human cannot afford them.

READ MORE

Areeb Yaqoob
Nd, India
Votes: 173
Views: 9667
Machinery/​Automation/​Robotics
May 13, 2015

Compact Long-Reach Robotic Arm

NASA’s Langley Research Center is developing a robotic arm with lightweight joints that provide a wide range of motion. The envisioned design provides users with a long reach and numerous degrees of freedom. The arm, ideal for use in aquatic environments or for manipulation of light terrestrial loads, consists of articulating booms connected by antagonistic cable tension elements.

READ MORE

Nasa Langley Research Center
Hampton, United States
Votes: 4
Views: 8579
Machinery/​Automation/​Robotics
Jun 24, 2015

Cross-sectional Area Converting Machine

Flute shape system, its related applications

Design Statement

Objects moving in air have to face aerodynamic forces.

Let's assume that object is in conical shape and have continue groove (like flute on drill tool) travelled along the periphery (starts from conical point and ends on another end) with spiral path.

READ MORE

Rajiv Sharma
Ludhiana, India
Votes: 5
Views: 7147
Machinery/​Automation/​Robotics
Jul 1, 2015

Density Differential Based Oil-Water Separator Working Continuous With Biodegradable Sludge Digester

Density Differential Based Oil-Water Separator Working Continuous With Biodegradable Sludge Digestion

Everyone loves big spill & Sludge problems solved fast , safe and

cheap. We got all the attributes delivered via our bio sourced

products and hybrid solutions which act in just minutes.

READ MORE

Taslim Owonikoko
Iseyin, Nigeria
Votes: 1
Views: 5001
Machinery/​Automation/​Robotics
May 7, 2015

Page 3 of 10

  • 1
  • 2
  • 3
  • 4
  • 5
  • 6
  • 7
  • 8
  • 9
  • 10

View Entries by

Contest Category

  • Aerospace & Defense
  • Automotive/​​​Transportation
  • Electronics
  • Energy, Power & Propulsion
  • Manufacturing & Materials
  • Medical
  • Robotics & Automation

Also

  • Tag Cloud
  • 2025 Entrants
  • Number of Votes
  • Number of Page Views
  • View All Entries

2025 Contest Results

  • Grand Prize & Category Winners
  • Top 100 Entries
  • Browse All the Entries
  • Final Voting Scoreboard
  • Meet the Judges

Follow Us

Sign In
Forgot Login?

 Contest Notifications: Click here for the full list of 2025 winning entries

  • © 2025 SAE Media Group
  • Privacy Policy
  • Service Status